
Следующая информация полностью применима как к двигателю РМЗ-500А, так и к двум карбюраторам двигателя РМЗ-500В.
Процесс образования газообразной топливной смеси из топлива и воздуха называется карбюрацией.
Преобразование жидкого топлива в газообразное топливо может происходить путем испарения или распыления. А устройство, с которым это происходит, называется карбюратор. На таежный снегоход установлен карбюратор Микуни.
По меткам на корпусе можно идентифицировать прибор, затем по надписи 34-560 можно определить диаметр диффузора - 34 мм, по первым двум цифрам.

Идентификация карбюратора Mikuni
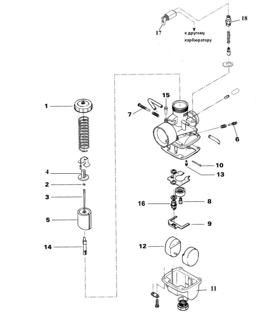
Чтобы получить общее представление о том, из каких частей состоит карбюратор, см. Следующий рисунок:

В дальнейшем тексте статьи мы будем ссылаться на детали на этой картинке в цифрах. Общее устройство и принцип работы карбюраторов Mikuni можно найти в статье «Устройство и регулировка карбюратора Mikuni».
Перед установкой и регулировкой снегохода осмотрите карбюратор на предмет повреждений. Если прибор загрязнен, его необходимо почистить. Карбюратор в сборе можно очищать растворителями или специальными жидкостями. При проведении таких работ есть несколько рекомендаций:
- не мойте резиновые детали, кольца и шпатель растворителями или моющими средствами, эти вещества могут быть неприемлемыми для материалов этих деталей;
- корпус и форсунки промываются моющим средством;
- фильтр 15 проверяется, очищается или при необходимости заменяется;
- проверяем игольчатый клапан отключения подачи топлива 16, при подозрении на неисправность заменяем комплектом вместе с пробкой;
- проверяем износ дроссельной заслонки 5, при необходимости заменяем;
- проверяем винт минимум 7, если погнут, тоже меняем;
- проверяем поплавок 12 на наличие в нем топлива, он должен отсутствовать, также проверяем на наличие повреждений или трещин, поплавок должен свободно двигаться без заклинивания, при необходимости меняем.
Дозирующая игла 3 играет важную роль в формировании состава топливной смеси на основных режимах работы двигателя, поэтому стоит сказать несколько слов об этом элементе карбюратора.
Положение дозирующей иглы 3 регулируется через 5 канавок в верхней части и регулируется с помощью упора 2. Верхняя канавка соответствует более бедной смеси (стрелка максимально опущена, количество топлива уменьшено.), а нижняя канавка - к более богатой смеси (игла поднята на максимум, топливо течет больше).

Место влияния замка иглы карбюратора Микуни на состав смеси
Кроме того, отмечены дозирующие иглы. Например, 6DH8-4, последняя цифра указывает на рекомендуемое положение иглы, 4 - это номер канавки в замке, отсчитываемый от верха иглы.
Уровень топлива в поплавковой камере зависит от положения поплавка, в то же время от работы двигателя в целом на разных режимах и, конечно же, от его КПД. Для проверки механизма поплавка необходимо снять корпус 11 поплавковой камеры. Осмотреть рычаг поплавка 9, он должен быть симметричным и не деформированным. Переворачиваем корпус карбюратора поплавком и ставим на ровную вертикальную поверхность. Высота H должна быть установлена от поверхности корпуса до верхнего края кронштейна поплавка.

Регулировка плавающего положения карбюратора Mikuni
Для этого используется линейка, которую необходимо расположить перпендикулярно поверхности корпуса, параллельно оси поплавка и в одной плоскости с осью, проходящей по каналу основного жиклера топлива.
Поплавок регулируется путем складывания язычка 1 на рисунке ниже.

Поплавок карбюратора Mikuni
Для лучшего понимания работы карбюратора на рисунке ниже можно увидеть, какие системы дозирования активируются при открытии дроссельной заслонки.

Работа элементов карбюратора Микуни в разных режимах
Предварительная регулировка карбюратора на снегоходе Mikuni
Предварительная регулировка карбюратора проводится при выключенном двигателе.

Винты регулировки карбюратора Mikuni
1. Полностью, но не до конца затянуть винт минимального качества смеси, после чего необходимо открутить для карбюраторов VM 34-619 с форсункой холостого хода (LC) 55 - на 2 оборота, для VM 34-619 с LC 40 - 1, 0... 1, 5 витков.
2. Ослабьте контргайку троса дроссельной заслонки на карбюраторе и полностью ослабьте винт холостого хода, чтобы он не касался дроссельной заслонки. Убрать люфт (люфт) в тросе регулировочным винтом. Проверьте полное открытие дроссельной заслонки. Полностью нажав на рычаг дроссельной заслонки, убедитесь, что дроссельная заслонка открывается полностью или не более чем на 1 мм ниже края диффузора со стороны двигателя; при необходимости винт троса можно отрегулировать.

Регулировка троса дроссельной заслонки карбюратора Mikuni
Обратите внимание на зазор между крышкой карбюратора и дроссельной заслонкой, он должен присутствовать. Отсутствие этого зазора грозит повреждением троса дроссельной заслонки или деталей карбюратора.

Проверка расстояния между дроссельной заслонкой и крышкой карбюратора Mikuni
3. Зафиксируйте винт троса дроссельной заслонки контргайкой.
Если двигатель имеет два карбюратора, проверьте момент открытия дроссельной заслонки на обоих карбюраторах, при необходимости отрегулируйте.
4. Теперь регулируем величину открытия дроссельной заслонки, расстояние между диффузором и кромкой дроссельной заслонки должно быть 1,5… 1,6 мм. Используйте для этого хвостовик сверла или кусок проволоки необходимого диаметра.

Регулировка люфта дроссельной заслонки карбюратора Mikuni
Окончательная регулировка карбюратора
Окончательная регулировка карбюратора осуществляется путем проверки регулировок, полученных при работающем двигателе во время дорожных испытаний. Согласно рекомендациям производителя, не регулируйте обороты холостого хода двигателя с помощью винта качества смеси холостого хода, так как это может привести к повреждению двигателя. Холостой ход регулируется винтом холостого хода (номером винта).
Регулировка карбюратора Микуни на таежном снегоходе проводится по алгоритму:
также допускается регулировать качество смеси до минимума винтом. Но не выкручивайте этот винт больше, чем на 2,5 оборота.
Замена масла в редукторе снегохода ямаха вентура
Замена моторного масла в четырехтактном двигател...Замена моторного масла в четырехтактном двигателе снегохода Ямаха 973 см, 120 л.с. Обязательно замените моторное масло после первых 800 км (500 миль)
ТОП-9 снегоходов модельного ряда Ямаха (Yamaha) и их характеристики: распишем по пунктамСнегоход «Yamaha» вместе с некоторыми другими считается лучшим снегоходом для охоты, который прекрасно выполняет свою задачу. По глубокому снегу очень трудно...
Ямаха вентура мульти пурпос: отзывыЧто рассказывают владельцы Yamaha Venture Multi Purpose о своих снегоходах после года использования?
Ямаха вентура мульти пурпос замена масла двигателе показания схемыЯмаха вентура мульти пурпос замена масла двигателе показания схемы Техобслуживание снегохода Yamaha Многие владельцы снегоходов Yamaha (Venture, Warrior,
Технические характеристики снегоходов Yamaha VentureХарактеристики и особенности эксплуатации снегоходов Yamaha Venture.
Ямаха Мульти Пурпос: отзывы о японском горном снегоходеСнегоход Yamaha Venture Multi Purpose - цена, технические характеристики, описание, продажа, отзывы, купить снегоход Ямаха Венчур Мульти Пурпоз в магазине Активная Техника. Yamaha Venture: наскольк...